深圳市百盛新紀元半導體有限公司,自成立以來,始終堅守誠信為本的原則,專注于半導體領域的技術創新與服務提升。我們專注于DC-DC升壓轉換芯片、降壓轉換芯片、MOS場效應管、LDO穩壓芯片、鋰電池充電管理芯片、鋰電池保護系統芯片、過壓過流保護芯片、電壓檢測芯片的研發與銷售,憑借多年的半導體銷售從業經驗和公司經驗豐富的FAE團隊,我們為客戶提供優質的產品和全方位的服務。
我們的產品廣泛應用于智能機器人、無線充、移動電源、無人機、安防監控、車載導航、行車記錄、暖手寶、補水儀、玩具等領域,以卓越的性能和穩定的品質贏得了客戶的廣泛贊譽。無論是產品的性能還是服務的質量,我們都力求做到最好,以滿足客戶不斷變化的需求。
百盛新紀元秉持倉儲式的經營理念,以誠信、感恩、服務為宗旨,致力于為客戶提供多元化、全方位的優質服務。我們深知,只有真正站在客戶的角度思考問題,才能贏得客戶的信賴和支持。因此,我們始終堅持用心服務,用心傾聽,用心滿足客戶的每一個需求。
鋰電池3.7V轉3V轉2.8V轉1.8V轉1.2V降壓IC-PL5900
詳情
3.7V轉3V,3.7V轉1.8V。3.7V轉2.8V,3.7V轉1.8V,3.7V轉1.2V 輸出可調的,帶EN使能控制腳,帶短路保護。
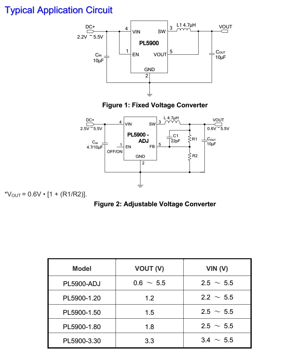
PL5900是顆高效率同步整流降壓DC-DC轉換器,工作電壓范圍2.2V--5.5V。寬范圍的工作電壓使得PL5900適合鋰電池供電應用,100%占空比,再無負載的情況下靜態電流為200uA,并在關機時降到小于1uA,內置同步開關提高轉換效率,外圍元件無需肖特基二極管。1.0MHZ/1.4MHZ的開關頻率。 PL5900提供SOT23-5封裝。
PL5900特點:
最高95%效率
出色的負載瞬態響應
700MA輸出電流
低靜態電流:200uA
輸出電壓0.6V-5.5V
PWM/PFM模式
固定輸出電壓頻率:1MHZ
可調輸出電壓頻率:1.4MHZ
短路保護
關機靜態電流:小于1uA
SOT23-5封裝



深圳市百盛新紀元半導體有限公司
鄭曉曉
2851339680
13534212799 / 0755-6130 3950
郵箱:Parkson@szparkson.net
公司:深圳市福田區華強北賽格廣場24樓2405A